Excelente ideia e bela observação. Digna de um inventor mesmo.
Vamos lá tentar ajudar no seu propósito.
O circuito que você apresentou é uma configuração com um alto ganho devido a montagem em cascata dos dois transistores 2n2222a. O que posso dizer é que este circuito está com uma sensibilidade muito elevada e por isso o problema relatado
Dependendo da distância dos eletrodos colocados na pele a resistência será muito baixa o que faz com que o primeiro transistor comece a conduzir. Em sequencia o segundo transistor também vai conduzir uma corrente, baixa o suficiente para não acionar o motor. Com isso a bateria vai perdendo a energia armazenada.
No caso da pele (não sou da área biomédica) a resistividade é por volta de 500k Ohm a cada metro.
Sugiro experimentar colocando um resistor ligado ao contato negativo do eletrodo de um valor alto para reduzir a sensibilidade de entrada. Sugeri 1M mas é dificil de determinar esse valor assim de bate-pronto.

Acredito que a resistividade da pele vai depender de cada indivíduo e isto pode levar a necessidade de existir um ajuste na entrada do circuito e pode ser melhor usar um trimpot ou potenciômetro para ajustes (ao menos na fase de projeto/protótipo).
Um segundo ajuste também pode ser feito aumentando o valor do resistor que está ligado no primeiro transistor e ligado ao polo negativo da bateria para diminuir a sensibilidade.
Teste um por vez e sempre mantenha os eletrodos afastados sempre com a mesma distância na pele para você poder comprovar o funcionamento.
Espero ter ajudado a você e relate a evolução do projeto, será legal saber do avanço.
Abraços.
agradeço muito. pois como disse não sou do ramo e não tenho ideia de como fazer modificações. Fiz eletrônica no colégio a 40 anos atrás.
Obrigado pela ideia, no circuito original não havia o motor de vibra call e sim um led e havia um resistor de 1k ligando o positivo ao led , mas com o vibra não funcionava tive que tirar esse ultimo resistor
Eu fiz colégio técnico em Eletrônica, mas nunca exerci
Não sei se tem influencia, mas como o circuito pedia uma bateria de 9v e eu queria que que ficasse pequeno o conjunto, usei 6 baterias de termometro
Tem que ser pequeno pois ela terá que usar preso ao corpo o dia todo,mas não tenho ideia de como alterar os componentes para exigir uma tensão menor, vc pode me ajudar?
@alvarohulk como o @Ludicon disse não rola com essas baterias.
Me passe o código do motor para que eu possa analisar as informações e talvez indicar uma bateria adequada ao seu propósito.
Abraços.
@alvarohulk, parafraseando…
Bom, adianto que existem pilhas de litio com tensão menor que podem ser usadas, mas não sei se o espaço vai permitir.
Dá uma olhada:
https://br.mouser.com/datasheet/2/315/panasonic_lithium_cr2_cr123a-947444.pdf
São de 3v e tem corrente suficiente para acionar o motor, mas o projeto tem que ser alterado, ou quem sabe um teste comprove o funcionamento?
Pelo código não consegui encontrar nenhuma informação, mas encontrei diversos motores desse usados em celular vendidos no MercadoLivre e pelas informações creio que o projeto vai funcionar.
Ainda estou pensando aqui em como posso ajudar e bola pra frente.
Abraços.
Ok, como eu mesmo estou fazendo o case, posso adapta-lo para esse tamanho, irá deixar o conjunto mais espesso, mas se funcionar vale a pena.
Abraços
blz, vou tentar e testar esses exemplos que me deu. Obrigado
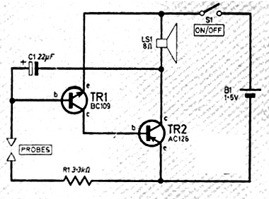
Indicador de Umidade (CIR851)
Detalhes
Escrito por Newton C Braga
Este circuito foi publicado na revista Everyday Electronics de junho de 1977 e é totalmente viável em nossos dias, bastando trocar o transistor NPN por um BC4548 e o PNP por um BC558. A alimentação pode ser feita por tensões de 1,5 a 6,0 V. O circuito tem um par de fios descascados como eletrodos. Eles são enfiados num vaso e de acordo com o grau de umidade são emitidos pulsos pelo alto-falante. A frequência é tanto mais alta quanto mais úmida estiver a terra no vaso.
achei interessante esse , o que vc acha. Será que terei o mesmo problema?
Oi Alvaro, não sei se você conseguiu resolver como detectar as variações de umidade na pele, com precisão, mesmo porque sua última conversa foi em agosto de 2018.
Entretanto, somente vi agora esse tópico e me chamou a atenção porque eu trabalhei durante muito tempo tentando medir a umidade do solo.
Se você ainda estiver por aí, tentando resolver essa questão, pode ser que não consiga com esse tipo de sensor…Vou explicar porque…Apesar de não saber exatamente porque a hipoglicemia provoca o sudorese, acho que o corpo está reagindo tentando baixar sua temperatura, certo?..Mas, se a umidade relativa do ar estiver baixa, você não vai detectar a presença de suor, porque o ar vai absorver o vapor d’água liberado pela pele, antes mesmo que forme o líquido sob a pele, então não haverá condução…Para formar o “suor” a temperatura tem que estar relativamente alta e a umidade do ar também…Tem muitos outros fatores bioquímicos e atmosféricos que podem interferir nesse sensor.
Você já pensou em usar um sensor capacitivo? Talvez funcione melhor…se for um sensor capacitivo de umidade relativa, em contato com a pele…Quem sabe? vamos trocar algumas ideias…boa sorte





